| TSR M 8 | M 8 (x1,25) | 0,40 | 15 | 6 | 33 | 56 | 30 | 41 | 25 | 10 | 58 | 9,5 | 0,4 | 0.88 |
|
TSR
| Reference |
TSR M 8 |
| Diameter |
M 8 (x1,25) |
| SF 5:1 WLL |
0,40 (t) |
| Standard L1 |
15 (mm) |
| Torque |
6 (Nm) |
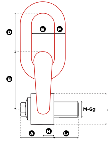
| A |
33 mm |
| B |
56 mm |
| C |
30 mm |
| D |
41 mm |
| E |
25 mm |
| F |
10 mm |
| G |
58 mm |
| H |
9,5 mm |
| Weight |
9,5 (kg) |
| Weight |
9,5 (lbs) |
|
| TSR M 10 | M 10 (x1,50) | 0,70 | 18 | 10 | 33 | 56 | 30 | 41 | 25 | 10 | 58 | 9,5 | 0,4 | 0.88 |
|
TSR
| Reference |
TSR M 10 |
| Diameter |
M 10 (x1,50) |
| SF 5:1 WLL |
0,70 (t) |
| Standard L1 |
18 (mm) |
| Torque |
10 (Nm) |
| A |
33 mm |
| B |
56 mm |
| C |
30 mm |
| D |
41 mm |
| E |
25 mm |
| F |
10 mm |
| G |
58 mm |
| H |
9,5 mm |
| Weight |
9,5 (kg) |
| Weight |
9,5 (lbs) |
|
| TSR M 12 | M 12 (x1,75) | 1,05 | 21 | 15 | 33 | 56 | 30 | 41 | 25 | 10 | 58 | 9,5 | 0,4 | 0.88 |
|
TSR
| Reference |
TSR M 12 |
| Diameter |
M 12 (x1,75) |
| SF 5:1 WLL |
1,05 (t) |
| Standard L1 |
21 (mm) |
| Torque |
15 (Nm) |
| A |
33 mm |
| B |
56 mm |
| C |
30 mm |
| D |
41 mm |
| E |
25 mm |
| F |
10 mm |
| G |
58 mm |
| H |
9,5 mm |
| Weight |
9,5 (kg) |
| Weight |
9,5 (lbs) |
|
| TSR M 14 | M 14 (x2) | 1,40 | 23 | 30 | 45 | 81 | 45 | 48 | 34 | 16 | 79 | 13,0 | 1,1 | 2.43 |
|
TSR
| Reference |
TSR M 14 |
| Diameter |
M 14 (x2) |
| SF 5:1 WLL |
1,40 (t) |
| Standard L1 |
23 (mm) |
| Torque |
30 (Nm) |
| A |
45 mm |
| B |
81 mm |
| C |
45 mm |
| D |
48 mm |
| E |
34 mm |
| F |
16 mm |
| G |
79 mm |
| H |
13,0 mm |
| Weight |
13,0 (kg) |
| Weight |
13,0 (lbs) |
|
| TSR M 16 | M 16 (x2) | 2,00 | 27 | 50 | 45 | 81 | 45 | 48 | 34 | 16 | 79 | 13,0 | 1,2 | 2.65 |
|
TSR
| Reference |
TSR M 16 |
| Diameter |
M 16 (x2) |
| SF 5:1 WLL |
2,00 (t) |
| Standard L1 |
27 (mm) |
| Torque |
50 (Nm) |
| A |
45 mm |
| B |
81 mm |
| C |
45 mm |
| D |
48 mm |
| E |
34 mm |
| F |
16 mm |
| G |
79 mm |
| H |
13,0 mm |
| Weight |
13,0 (kg) |
| Weight |
13,0 (lbs) |
|
| TSR M 18 | M 18 (x2,5) | 2,30 | 27 | 70 | 45 | 81 | 45 | 48 | 34 | 16 | 79 | 13,0 | 1,2 | 2.65 |
|
TSR
| Reference |
TSR M 18 |
| Diameter |
M 18 (x2,5) |
| SF 5:1 WLL |
2,30 (t) |
| Standard L1 |
27 (mm) |
| Torque |
70 (Nm) |
| A |
45 mm |
| B |
81 mm |
| C |
45 mm |
| D |
48 mm |
| E |
34 mm |
| F |
16 mm |
| G |
79 mm |
| H |
13,0 mm |
| Weight |
13,0 (kg) |
| Weight |
13,0 (lbs) |
|
| TSR M 20 | M 20 (x2,5) | 2,50 | 30 | 100 | 45 | 81 | 45 | 48 | 34 | 16 | 79 | 13,0 | 1,2 | 2.65 |
|
TSR
| Reference |
TSR M 20 |
| Diameter |
M 20 (x2,5) |
| SF 5:1 WLL |
2,50 (t) |
| Standard L1 |
30 (mm) |
| Torque |
100 (Nm) |
| A |
45 mm |
| B |
81 mm |
| C |
45 mm |
| D |
48 mm |
| E |
34 mm |
| F |
16 mm |
| G |
79 mm |
| H |
13,0 mm |
| Weight |
13,0 (kg) |
| Weight |
13,0 (lbs) |
|
| TSR M 22* | M 22 (x2,5) | 3,00 | 33 | 120 | 62 | 105 | 60 | 80 | 45 | 20 | 106 | 19,0 | 2,8 | 6.17 |
|
TSR
| Reference |
TSR M 22* |
| Diameter |
M 22 (x2,5) |
| SF 5:1 WLL |
3,00 (t) |
| Standard L1 |
33 (mm) |
| Torque |
120 (Nm) |
| A |
62 mm |
| B |
105 mm |
| C |
60 mm |
| D |
80 mm |
| E |
45 mm |
| F |
20 mm |
| G |
106 mm |
| H |
19,0 mm |
| Weight |
19,0 (kg) |
| Weight |
19,0 (lbs) |
|
| TSR M 24* | M 24 (x3) | 4,00 | 36 | 160 | 62 | 105 | 60 | 80 | 45 | 20 | 106 | 19,0 | 2,9 | 6.39 |
|
TSR
| Reference |
TSR M 24* |
| Diameter |
M 24 (x3) |
| SF 5:1 WLL |
4,00 (t) |
| Standard L1 |
36 (mm) |
| Torque |
160 (Nm) |
| A |
62 mm |
| B |
105 mm |
| C |
60 mm |
| D |
80 mm |
| E |
45 mm |
| F |
20 mm |
| G |
106 mm |
| H |
19,0 mm |
| Weight |
19,0 (kg) |
| Weight |
19,0 (lbs) |
|
| TSR M 27* | M 27 (x3) | 5,00 | 36 | 200 | 62 | 105 | 60 | 80 | 45 | 20 | 106 | 19,0 | 2,9 | 6.39 |
|
TSR
| Reference |
TSR M 27* |
| Diameter |
M 27 (x3) |
| SF 5:1 WLL |
5,00 (t) |
| Standard L1 |
36 (mm) |
| Torque |
200 (Nm) |
| A |
62 mm |
| B |
105 mm |
| C |
60 mm |
| D |
80 mm |
| E |
45 mm |
| F |
20 mm |
| G |
106 mm |
| H |
19,0 mm |
| Weight |
19,0 (kg) |
| Weight |
19,0 (lbs) |
|
| TSR M 30* | M 30 (x3,5) | 6,30 | 45 | 250 | 62 | 105 | 60 | 80 | 45 | 20 | 106 | 19,0 | 3,0 | 6.61 |
|
TSR
| Reference |
TSR M 30* |
| Diameter |
M 30 (x3,5) |
| SF 5:1 WLL |
6,30 (t) |
| Standard L1 |
45 (mm) |
| Torque |
250 (Nm) |
| A |
62 mm |
| B |
105 mm |
| C |
60 mm |
| D |
80 mm |
| E |
45 mm |
| F |
20 mm |
| G |
106 mm |
| H |
19,0 mm |
| Weight |
19,0 (kg) |
| Weight |
19,0 (lbs) |
|
| TSR M 36* | M 36 (x4) | 10,00 | 54 | 320 | 81 | 140 | 80 | 111 | 71 | 30 | 148 | 26,5 | 7,6 | 16.76 |
|
TSR
| Reference |
TSR M 36* |
| Diameter |
M 36 (x4) |
| SF 5:1 WLL |
10,00 (t) |
| Standard L1 |
54 (mm) |
| Torque |
320 (Nm) |
| A |
81 mm |
| B |
140 mm |
| C |
80 mm |
| D |
111 mm |
| E |
71 mm |
| F |
30 mm |
| G |
148 mm |
| H |
26,5 mm |
| Weight |
26,5 (kg) |
| Weight |
26,5 (lbs) |
|
| TSR M 42* | M 42 (x4,5) | 12,50 | 63 | 400 | 84 | 146 | 80 | 111 | 71 | 30 | 148 | 26,5 | 7,8 | 17.20 |
|
TSR
| Reference |
TSR M 42* |
| Diameter |
M 42 (x4,5) |
| SF 5:1 WLL |
12,50 (t) |
| Standard L1 |
63 (mm) |
| Torque |
400 (Nm) |
| A |
84 mm |
| B |
146 mm |
| C |
80 mm |
| D |
111 mm |
| E |
71 mm |
| F |
30 mm |
| G |
148 mm |
| H |
26,5 mm |
| Weight |
26,5 (kg) |
| Weight |
26,5 (lbs) |
|